Apple запатентовала революционный ПАКЕТ

Всего пара недель прошла с презентации новых iPhone 7, а Apple снова потрясла мир своим инновационным видением на привычные вещи. В конце прошлой недели компания зарегистрировала патент на собственный бумажный пакет.

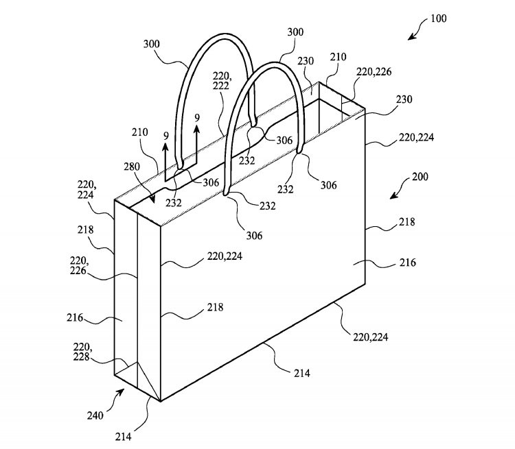
Обычный с виду пакет из бумаги и картона, с ручками из тканевых шнурков оказался на редкость сложным устройством. Описание подробностей патентуемой конструкции занимает 19 пунктов с 63 уточнениями.

Особенно ценны следующие примечания:
«Пакеты часто используются для переноски вещей. Например, пакеты в магазинах часто применяются для переноски вещей, купленных в магазинах».
«Пакет может состоять из контейнера и ручек».
«Те, кто разбирается в данной области техники, наверняка поймут, что детальное описание к схемам, приведённое здесь, необходимо для пояснительных целей и не должно восприниматься как ограничивающее».
«Терминология и фразеология этой спецификации должна быть интерпретирована опытным специалистом»
Пакеты, которые выдают в Apple Store, надежные и качественные… но патент?